PS8/20W消防水炮
更新時間:2024-03-29 14:43:04
*射程遠、水流集中、保護面積大*操作靈活方便、炮身可做水平回轉和仰俯回轉*噴射可做直流和噴霧*適用于消防車、消防艇、固定消防炮塔和消防...
威斯特固定式消防炮代表了成都威斯特消防機械有限公司新一代的消防炮創新設計技術水平。獨有的流道設計不僅結構緊湊,而且性能優越。該型號消防炮射程遠、射流集中、保護面積大;操作靈活方便、炮身可同時進行水平回轉和仰俯回轉;該消防炮適用于消防車和石油、化工、碼頭等企業場所;


* 結構簡單、新穎;
* 性能穩定、維修方便;
* 入口壓力低;
* 具有開花/直流兩種噴射功能;
* 重量輕;
* 配置自動泄水閥;
* 具有水平、俯仰鎖緊功能;
* 材質:精密鑄造鋁合金;
* 主要規格、性能參數均符合中華人民共和國標準GB19156-2019《消防炮通用技術條件》的要求。
主要性能參數表
| 型號 | 流 量 (L/s) |
射 程 (m) |
額定工作壓力(Mpa) |
俯仰旋轉
(°)
|
水平旋轉 (°) |
長×寬×高 (mm) |
重量 (Kg) |
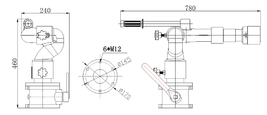
| PS8/20W | 20 | ≥50 | 0.80 | -35~+70 | 0~360 | 780×240×460 | 11 |

24小時服務熱線:
